

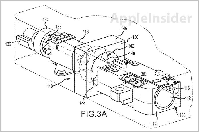
Nos iPhones et iPads deviennent de plus en plus puissants chaque année. Leurs processeurs sont tellement puissants que certains pensent qu’Apple les utilisera un jour dans certains de ses produits Mac. Cela reste à voir. Mais Apple explore l’idée d’utiliser des ventilateurs mécaniques dans les appareils portables. C’est ce que suggère le dernier dépôt de brevet de l’entreprise. La chaleur excessive est l’ennemi des électroniques. À mesure que les appareils iOS deviennent plus puissants, Apple devra trouver un moyen de résoudre ce problème. Le dépôt « Système de refroidissement pour appareils électroniques mobiles », qui a été découvert par Apple Insider
, montre un système de ventilateur qui refroidit les appareils mobiles en utilisant un ventilateur à moteur. La question à ce stade est de savoir comment Apple pourrait possibly intégrer ces composants dans les prochains appareils iOS, compte tenu du fait qu’ils deviennent de plus en plus minces. Ce dépôt pourrait être pour l’iPad ou une toute nouvelle génération d’appareils iDevices. Nous devrons attendre et voir ce que Apple a en réserve.
En parlant de l’iPad, le microphone Blue Microphone Spark Digital
a finalement été mis sur le marché. Il s’agit d’un microphone à condensateur de niveau studio qui permet aux utilisateurs d’iPad d’enregistrer de l’audio de qualité sur leurs machines. Il peut également être connecté à un ordinateur à l’aide d’une connexion USB. Un support de bureau réglable est inclus. La prise casque permet une surveillance en temps réel sans latence.
Ce microphone est annoncé comme étant compatible avec Garage Band et d’autres applications d’enregistrement. Vous aurez besoin d’un adaptateur Lightning pour le connecter à votre iPad mini et iPad 4. Le produit coûtera 199 $.