Skip to content
high-phone.info

Toutes les infos sur votre mobile !

Catégorie : News

Apple supprime des applications à tour de bras
septembre 13, 2025

Apple supprime des applications à tour de bras

Il existe une grande différence entre Android Market et Apple App Store. Les deux sont en pleine croissance. Les fans … Read More « Apple supprime des applications à tour de bras »

L’Apple Watch sera équipée d’un moniteur cardiaque à électrocardiogramme

L’Apple Watch sera équipée d’un moniteur cardiaque à électrocardiogramme

L’Apple Watch est déjà équipé d’un moniteur de fréquence cardiaque intégré, mais Apple est sur le point d’améliorer cette technologie … Read More « L’Apple Watch sera équipée d’un moniteur cardiaque à électrocardiogramme »

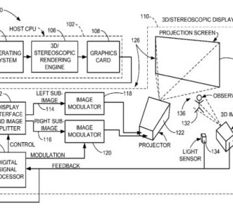
Apple dépose un brevet pour une tablette convertible avec projection 3D sans lunettes

Apple dépose un brevet pour une tablette convertible avec projection 3D sans lunettes

Il y a une très bonne raison pour laquelle Apple a réussi à maintenir sa part de marché dans les … Read More « Apple dépose un brevet pour une tablette convertible avec projection 3D sans lunettes »

La disponibilité de l’iPhone X est désormais généralisée

La disponibilité de l’iPhone X est désormais généralisée

Quiconque souhaite acheter un iPhone X peu après les vacances de Noël est en chance. Actuellement, l’appareil est largement disponible … Read More « La disponibilité de l’iPhone X est désormais généralisée »

Mac App Store, l’iPhone blanc arrives bientôt ?

Mac App Store, l’iPhone blanc arrives bientôt ?

Être impliqué dans le monde des applications a fait des merveilles pour Apple. Il y a beaucoup d’entreprises qui tentent … Read More « Mac App Store, l’iPhone blanc arrives bientôt ? »

Rapport du consommateur : AT&T est le fournisseur le plus mauvais

Rapport du consommateur : AT&T est le fournisseur le plus mauvais

Consumer Reports : AT&T est le pire fournisseur, Selon un récent rapport de Consumer Reports, AT&T a été classé comme … Read More « Rapport du consommateur : AT&T est le fournisseur le plus mauvais »

Apple domine les activations de nouveaux appareils mobiles

Apple domine les activations de nouveaux appareils mobiles

La semaine précédant Noël a été très importante pour Apple, l’entreprise ayant pris la tête des activations de nouveaux dispositifs … Read More « Apple domine les activations de nouveaux appareils mobiles »

Dates de lancement de Mac App Store et d’iPad 2 dévoilées ?

Dates de lancement de Mac App Store et d’iPad 2 dévoilées ?

Les dates de lancement de Mac App Store et d’iPad 2 dévoilées ?, Une nouvelle rumeur fait surface sur internet, … Read More « Dates de lancement de Mac App Store et d’iPad 2 dévoilées ? »

Apple réduit le coût de remplacement de la batterie de l’iPhone à 29 dollars

Apple réduit le coût de remplacement de la batterie de l’iPhone à 29 dollars

Face à la critique après sa déclaration de la semaine dernière sur la gestion du processeur, Apple a publié une … Read More « Apple réduit le coût de remplacement de la batterie de l’iPhone à 29 dollars »

blueSLR : contrôlez votre reflex numérique avec votre iPhone

blueSLR : contrôlez votre reflex numérique avec votre iPhone

blueSLR : contrôlez votre appareil photo reflex numérique avec iPhone, Le blueSLR est un dispositif permettant de contrôler son appareil … Read More « blueSLR : contrôlez votre reflex numérique avec votre iPhone »

Pagination des publications

1 … 85 86 87 88 89 90 91 … 192
Proudly powered by WordPress | Theme: Journal Blog by AnswerBox.